Technology leaders like Amazon and IBM are gearing for the next phase of technological developments in the drone industry by filing patents for some exciting and innovative designs. In this blog post, we take a look at some interesting futuristic drone concepts like airborne drone charging, drone airbags and believe or not…a coffee delivery drone!
A Landing Pad that can Accept Drone Deliveries
Laws which prevent flying BVLOS and flight over people are preventing drone deliveries from taking off. However, this has not stopped companies from patenting their ideas – and this is certainly not surprising. After all, online sales are set to grow from $400 billion in 2018 to nearly $700 billion by 2022. One such company is the Illinois based, Blacknight Holdings. They filed a patent for their rather ingenious landing pad design in 2014, and received approval in 2018. This landing pad contains a trapdoor for receiving packages. A transmitter enables the UAV to “find” the landing pad. The storage compartment contains a secure locking mechanism – and the landing pad can be opened ONLY receiving the signal from the UAV. Check out their design.

Amazon Also Has a Solution for Accepting Drone Deliveries
With other companies rushing to get their designs patented, how can Amazon be far behind? Amazon’s patent 10,093,454 was filed in 2014 and approved in 2018. This patent titled, “Unmanned Aerial Vehicle Payload Receiving apparatus” also offers an alternative for seamless drone deliveries. Check it out –

Airbags for Drones?
# 10,099,786 is another interesting Amazon patent that again shows us how Amazon is prepping for drone deliveries. Products delivered by online retailers use protective material such as Styrofoam or inflated packing pillows to prevent damage. However, use of such material would be commercially nonviable for drone deliveries when we factor in payload constraints and short battery life. In order to overcome this challenge, Amazon has patented this airbag design. This Airlift Protection Package (APP) airbag operates similar to a car airbag or a stunt airbag – and inflates PRIOR to the product hitting the ground. Check out the image.

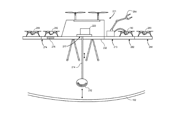
Overcoming the Challenge of Short Flight Times
When BVLOS operations finally become a possibility, short flight times shall be a huge drawback. In order to overcome this challenge, Amazon has come up with another ingenious solution. Patent 10,099,561 proposes the airborne charging of UAV’s. That’s right. Amazon proposes the charging of a UAV from an overhead powerline. The UAV can then continue its flight or even recharge another UAV. Check out the pictorial representation:

We Might See Some Innovative Drone Designs Too!
Patent D 832,154 was filed by Yuneec in 2016, and approval was received in 2018. This is a patent for a rather unique futuristic drone design which combines the elements of a fixed wing airplane with that of a multirotor. Will this design result in greater flight time, and higher speeds? Well, only time will tell. But it is an interesting design for sure. Check out the images:

And Lastly, a Drone That Gives You Your Favorite Caffeine Fix!!
Okay. We could not resist adding this one. IBM thinks that it is a good idea to deliver piping hot coffee via drones. And that’s not it. Sensors aboard the drone will be able to identify your cognitive state by accessing your sleep data – and determining whether you are in need of a stimulant or not. This futuristic drone shall have the capability to “read” your gestures as well.

Become a Drone U Member.
Follow our Medium Account for commentary on the latest happenings in the drone industry.
Do not forget to subscribe and Listen to Ask Drone U, the #1 drone podcast.
Add Your Comment